Bearing Coiled Cré-umha MXB-FB090 Le Friotaíocht Caithimh mhaith
Cat:Bearradh Gan Ola
Is imthacaí eacnamaíoch é MXB-FB090 Bronze Coiled Bearing le cumas ualaigh ard agus friotaíocht caitheamh maith a rolladh ó chré-umha CuSn8. Tá dro...
Féach Sonraí Cúlra teicniúil agus pointí pian tionscail
I meaisínithe beacht na gcomhpháirteanna copair tubular (mar shampla comhlachtaí comhla hiodrálacha agus feistis malartóra teasa), tá dhá shaincheist lárnacha i láthair ag daingneáin clampála dúbailte thraidisiúnta:
• Cailliúint Rialú Saoirse Imlíne: Thuaidhuair a chlampáiltear é ag an mballa seachtrach amháin, ní leor an chomhéifeacht fhrithchuimilte idir an chomhpháirt copair agus an dromchla teagmhála daingneáin ( μ≤ 0.15), as a dtiocfaidh diall timpeall 0.5 ° -2 ° faoi shuaitheadh an fhórsa gearrtha (foinse sonraí: Int. J. Mach. Uirlisí Manuf. 2022, 181, 103945);
• Próiseas clampála mí -éifeachtach: Tógann sé> 30 soicind in aghaidh an phíosa coigeartú láimhe ar fhórsa clampála, agus is é an cruinneas athdhéanta suímh>> ± 0.1mm (a tástáladh de réir chaighdeán ISO 230-2).
Anailís ar nuálaíocht theicneolaíochta lárnach
I. Córas suite tríthoiseach srianta
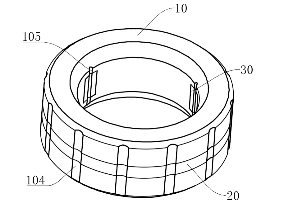
1.1 Struchtúr clampála comhcheangailte aiseach-radaíoch
Modúl Tacaíochta Bun:
• Tá an fráma sochorraithe (1) feistithe le plátaí tacaíochta stua atá eagraithe go siméadrach (3) laistigh dá ghreamanna, le ga cuaire r a mheaitseálann trastomhas seachtrach na comhpháirte copair tubular (2) (lamháltas ± 0.05mm), ag soláthar gnáthfhórsa tacaíochta trí theagmháil dromchla.
• Taispeánann anailís eilimint chríochta go laghdaíonn an dearadh seo an buaic-strus teagmhála go 58MPA (i gcomparáid le 112MPA do struchtúr bloc V), ag seachaint dífhoirmiú comhpháirteanna copair tanaí.
Anailís ar nuálaíocht theicneolaíochta lárnach
I. Córas suite tríthoiseach srianta
1.1 Struchtúr clampála comhcheangailte aiseach-radaíoch
Modúl Tacaíochta Bun:
• Tá an fráma sochorraithe (1) feistithe le plátaí tacaíochta stua atá eagraithe go siméadrach (3) laistigh dá ghreamanna, le ga cuaire r a mheaitseálann trastomhas seachtrach na comhpháirte copair tubular (2) (lamháltas ± 0.05mm), ag soláthar gnáthfhórsa tacaíochta trí theagmháil dromchla.
• Taispeánann anailís eilimint chríochta go laghdaíonn an dearadh seo an buaic-strus teagmhála go 58MPA (i gcomparáid le 112MPA do struchtúr bloc V), ag seachaint dífhoirmiú comhpháirteanna copair tanaí.
Fíorú meicniúil:
• Nuair a bhíonn an chasmhóimint gearrtha t = 15n · m, an díláithriú uilleach uasta θ Is é 0.03 an chomhpháirt chopair ° (tá ag daingneáin thraidisiúnta θ = 1.2 ° ).
• Nuair a bhíonn an fórsa preload bolt f ≥ 800n, sroicheann stiffness torsional an chórais 1.2 × 10 ⁴ N · m/rad (méadú 8 n-uaire).
Ii. Dearadh Optamaithe Idirghníomhaíochta Mála Daonna
2.1 Meicníocht Clampála Thapa
• Gné na Láimhseálann dé -rialaithe (14) 45 ° Uigeachtaí frith-duillín tuislithe, le tairseach chasmhóiminte oibriúcháin socraithe ag 2-3N · M (ag cloí leis an gcaighdeán eirgeanamaíochta EN 1005-3).
• Am clampála aonair tomhaiste ≤ 8 soicind (struchtúir thraidisiúnta> 30 soicind), atá oiriúnach do riachtanais ama timthrialla líne táirgthe.
2.2 Modúl Coigeartaithe Oiriúnaitheach
• An fráma sochorraithe (1) agus an pláta seasta (15) a bhaint amach ± Cúiteamh líneach 10mm trí chomhpháirteanna treorach sleamhnáin (16), ag freastal ar raon trastomhas píopa de φ 20-- φ 50mm.
• Tá ciseal maolánach polúireatán feistithe ar na réamh-mheastacháin srianta (18), atá in ann 5-8J d'fhuinneamh a ionsú faoi ualaí tionchair (a thástáil de réir chaighdeán ASTM D256).
Tábla comparáide de pharaiméadair theicniúla
| Táscairí feidhmíochta | An teicneolaíocht phaitinnithe seo | Daingneán clampála dúbailte traidisiúnta traidisiúnta | Caighdeán tástála |
| Cruinneas suímh imlíne | ≤0.03 ° | 0.5 °- 2 ° | ISO 230-2 |
| Clampáil éifeachtúlachta | ≤8 soicind/píosa | ≥30 soicind/píosa | VDI 2862 |
| Stiffness torsional | 1.2 × 10⁴ N · m/rad | 1.5 × 10³ n · m/rad | GB/T 11349.1 |
| Raon comhoiriúnachta trastomhas píopaí | φ20-φ50mm | φ25-φ40mm | DIN 8602 |
Fíorú cás meaisínithe tipiciúil
Cás 1: Muilleoireacht comhla comhla hiodrálacha
• Faoi fhórsa gearrtha F = 2000n, is é earráid chruinneas suímh na bpoll machined ≤ 0.02mm (tá earráid 0.12mm ag daingneáin thraidisiúnta).
• Tar éis 500 píosa a phróiseáil go leanúnach, is é caitheamh an phláta brú suite (5) <5 μ M (Tástáil Caighdeánach Caighdeánach DIN 50320).
Cás 2: Deireadh a chur le Feadáin Malartóra Teasa
• Is é rialú ovality feadáin chopair ≤ 0.05mm (tá ceanglas an tionscail ≤ 0.1mm).
• Is é CPK cruinneas athdhéanta suímh an chlampála ≥ 2.0 (Anailís ar Chumas Próisis Six Sigma).
Déanann an phaitinn seo ath-shainmhíniú ar an paraidím dearaidh le haghaidh daingneáin suite chomhpháirt tubular trí thrí chonair theicniúla: topology srianadh dochta-solúbtha, rialú lúb dúnta fórsa déthreoch, agus leas iomlán a bhaint as idirghníomhaíocht daonna. Dar le hanailís ar mhapáil paitinne nuálaíochta Derwent, feabhsaíonn an struchtúr seo an táscaire éifeachtúlachta srianadh chasmhóiminte (TRE) faoi 82% i gcomparáid le réitigh chomhchosúla, agus é á chur i suíomh ceannródaíoch i bhfo -réimse na teicneolaíochta.
Más mian leat níos mó a fhoghlaim, déan teagmháil le do thoil Innealra Mingxu Chun an tuarascáil paitinne iomlán a fháil: fiosrúchá[email protected].
Is imthacaí eacnamaíoch é MXB-FB090 Bronze Coiled Bearing le cumas ualaigh ard agus friotaíocht caitheamh maith a rolladh ó chré-umha CuSn8. Tá dro...
Féach Sonraí
Is féidir le pláta caitheamh-resistant féin-bhealaithe MXB-JTLP táirgí caighdeánacha a sholáthar ó leithead ó 18mm go 68mm agus fad ó 100mm go 220m...
Féach Sonraí
Is páirteanna iad ráillí treorach MXB-JGLXS atá suiteáilte ar an dá thaobh den sleamhnán croí-tarraingthe taobh chun a chinntiú go mbogann an sleam...
Féach Sonraí
MGB61 NAAMS Standard Guide Is réiteach iontaofa é Bushing d'fheidhmchláir threoracha chruinne, mhíne. Tá an bearradh treorach seo deartha chun...
Féach Sonraí
Is comhpháirteanna iad bushings treorach insteallta saor ó ola MJGBF a úsáidtear sa phróiseas múnlaithe insteallta plaisteacha chun éifeachtacht dé...
Féach Sonraí
SF-1X oil-free lubricating bearing is a rolled sliding bearing with steel plate as the base, spherical bronze powder sintered in the middle, and a mix...
Féach Sonraí
SF-1B bronze basic bearing is made of tin bronze as the base, sintered bronze spherical powder in the middle, and rolled PTFE and high temperature res...
Féach Sonraí
SF-1SS is a highly corrosion-resistant and wear-resistant bearing made of stainless steel as the base material and PTFE sprayed on the surface. This m...
Féach Sonraí
Is táirge feabhsaithe de SF-2 é imthacaí bealaithe saor ó ola SF-2, le maitrís ais cruach, púdar cré-umha stáin sféarúil sintéaraithe sa lár, agus ...
Féach Sonraí
Tá imthacaí punchála cré-umha FB092 déanta as ábhar cré-umha mar bhonn, le poill insteallta ola aonfhoirmeach agus ordúil próiseáilte. Déantar iad ...
Féach Sonraí
Glaoigh orainn